深圳光明新区2016小升初学校报名指导(2)
六、录取方法
1.根据《光明新区2016年义务教育阶段积分入学学位派位试行办法》按学生户籍分为四个学位类型:
第一类型:学区户籍。指适龄儿童户籍地址处于学校招生范围内。
第二类型:学区外深圳户籍。指适龄儿童户籍地址处于光明新区外,深圳市范围以内。
第三类型:非深圳户籍,学区购房。指适龄儿童户籍地址处于深圳市以外,父母或监护人有该学区商品房,产权大于50%。
第四类型:非深圳户籍,学区租房或有特殊住房。指适龄儿童户籍地址处于深圳市以外,父母或监护人在学区租房或有特殊住房。
2.按学位类型顺序录取,第一类型〉第二类型〉第三类型〉第四类型,相同类型按积分从高到低依次录取。当前一类型不能全部录取时,不再进行下一类型的录取。
台湾户籍与学区外深圳户籍同等待遇。
学区购商品房,有购房合同,但未取得房产证的。按合同约定在2016年12月31日前交房入伙的,可做为入学条件,不积分。
东莞市惠州市户籍与非深圳户籍,学区购房同等待遇。
3.家长网上填报申请信息并保存成功后,报名系统将根据填报的信息,自动计算该适龄儿童的积分。学校对申请信息进行初审,核实家长所填写的积分项目。政府各职能部门核实家长递交积分材料的真实性。
4.积分排序派位后没有安排到所申请学校的学位的,由公共事业局根据家长志愿,按照积分录取到其他公办学校。没有公办学校学位的,由家长自行选择民办学校。
5.选择民办学校的,可以到所申请的民办学校申请学位补贴,享受学杂费(不含自愿收费项目)小学每生每学年5000元、初中每生每学年6000元的学位补贴。
具体积分项目和办法参见光明新区公共事业局关于印发《光明新区2016年义务教育阶段公办学位积分入学派位试行办法》的通知。
七、招生常见问题解答
1、儿童出生证、身份证上的名字或出生日期与户口本不符,有影响吗?
答:如果儿童出生证的日期或姓名与户口本不符合,但是儿童户口与父或母在同一本户口本上,则不受影响;如儿童户口与父或母不在同一本户口本上,必须提供公安部门出具的变更证明或亲属关系证明。
2、身份证、居住证的地址和房产证、租赁合同的地址不一致,需要更改吗?
答:不需要更改,是以房产证或租赁合同上的住址作为确定学区范围的依据。
3、住在亲戚家,能用亲戚的房产证申请学位吗?
答:不能。须用孩子的直系亲属(父亲、母亲、爷爷、奶奶、外公、外婆)的房产证申请学位,不能用亲戚的房产证申请学位。
4、我购买了一套房屋,没有在国土局备案,也未办理过户,但有律师见证书,可用它申请学位吗?
答:不能。市司法局下发《关于严禁为违法建筑销售行为提供公证和律师见证服务的通知》中明文禁止公证机构和律师为违法建筑买卖提供相关公证和见证服务。用以申请学位的房屋必须符合相关规定,提交合法的证明材料,因此私人之间买卖的房屋不能用来申请学位。
5、我需要提供什么样的租赁材料?可以用我和房东自行签订的租赁合同申请学位吗?
答:须提供相应街道房屋租赁管理所出具的真实有效的《租赁凭证》或《房屋租赁信息》,未登记备案的租赁合同不能用来申请学位。
6、我被派遣到某单位、公司工作,住在该单位、公司提供的集体宿舍,社保由派遣公司购买,怎么提供住房证明?
答:由于这种情况下,社保清单上的单位与集体宿舍单位不一致,故需提供派遣到该单位的合法有效证明材料和核实电话,加盖派遣单位和被派遣单位的公章。
7、我能使用自家商铺的租赁合同申请学位吗?
答:租赁合同中的房屋用途必须是住宅,不能是商铺、厂房、仓库、办公等用途。
8、我住在亲戚家,能用亲戚的租赁合同申请学位吗?
答:不能。租赁合同中的承租人必须是学生的直系亲属(父亲、母亲、爷爷、奶奶、外公、外婆)。如承租人是学生的爷爷、奶奶、外公、外婆的,该生须与他们在同一户口本上或通过公安部门出具的亲属关系证明、儿童父母结婚证、儿童出生证等材料来体现。
9、对提供的社保有哪些要求?
答:(1)至少提供父母一方的深圳市社保卡电脑号,如是多年前用15位老身份证号码办理的社保,需到就业的单位或公司申请将社保信息中的身份证号码更新为18位;(2)如父母有一方是深圳户籍,可以不提供社保卡,以入户时间计算积分(如果愿意以社保年限而不是入户年限计算积分的,则必须提交社保证明)
10、社保曾经有一段时间断交,有影响吗?
答:从报名直至学生入学,社保需要保持正常缴费状态,没有年限或连续缴费时间长度的规定。
11、今年申请小一、初一学位,还需要审核计划生育信息吗?
答:根据儿童的户籍类别判断:(1)深圳户籍儿童不需要审核计划生育信息。(2)非深圳户籍儿童需要审核计划生育信息。
12、已有原籍计生部门出具的《流动人口婚育证明》,申请学位还要到现居住地社区工作站申报录入计划生育信息吗?
答:必须要。不能直接用原籍计生部门出具的《流动人口婚育证明》来申请学位。
13、什么时候到现居住地社区工作站申报录入计划生育信息。需要提供哪些资料?
答:最晚必须在网上报名结束前到所在社区工作站申报录入计划生育信息并开具计划生育证明。需要提供的资料有:(1)儿童父母结婚证或离婚证(离婚协议、法院判决书);(2)儿童所在家庭户口本;(3)儿童父母《计划生育服务证》(或《流动人口婚育证明》);(4)有“独生子女证”的,应提供《独生子女证》,子女为收养的,应提供《收养证》;(5)属于再生育条件的,提供再生育准生证或其他审批手续;(6)政策外生育的提供社会抚养费征收完毕的票据材料。以上资料由社区工作站验原件,留复印件。
14、监护人由父母变更为他人的适龄儿童如何提供证明?
答:须提供法院出具的变更关系的法律文书或民政部门出具的变更证明及变更后的法定监护人的各项证明材料;属于孤儿的,需提供民政部门出具的收养关系证明及法定监护人的各项证明。
15、可以申请择校或向多个学校重复申请学位吗?可以申请自己不符合条件的学校吗?
答:不能。国家规定义务教育实行就近入学,不能择校。家长须按照每所学校公布的报名范围和接受申请学位类型,对照自己的条件来申请对应学校的学位,不得在多个公办学校重复申请学位,不得申请自己不符合条件的学校。现在实行义务教育均衡发展政策,没有重点与非重点之分,各学校按照《广东省义务教育标准化学校标准》进行建设和装备,按照生均标准拨款,校长和教师定期交流,各学校之间日益趋向均衡,没有必要择校。
16、就近入学就是在直线距离最近的学校就读吗?
就近入学并不是指就读离自己住址直线距离最近的学校,是指适龄儿童就读现住址所属地段的学校。目前通过划定义务教育阶段学校的招生地段,按地段招生的方式落实就近入学政策。根据辖区人口分布等情况,按道路和住宅小区的边界等界线划分学校招生地段。由于人口密度分布不均,学校也不是均匀布局等原因,学校招生地段也可能出现范围大小和距离远近不同的情况。每年会根据辖区学位供需情况,对学校的招生地段进行必要的调整。
17、申请学位的各项证件是教育部门审核吗?有一项或几项材料不合格可以申请学位吗?
答:由学校负责初步核对填报的信息是否一致,由教育部门汇总信息,按职责分工将各项信息分送各职能部门审核,公安、国土、租赁、住宅、社保、市场监管、计生等部门分别审核身份证和居住证、房产证、租赁凭证、社保卡、营业执照、计生证明等。全部信息资料经各相关部门审核合格后,该生才具备就读资格。所以各项证件不是由教育部门审核,任何一项或几项材料不合格,网络系统都会显示“不合格”,系统自动排斥,无法录取。
18、未在规定时间内办齐证件或申请学位,后来补齐了证件可以补申请吗?
答:不能。学位申请按全市统一时间进行,程序复杂,申请信息资料必须在规定的时间内分送多个部门审核,涉及部门和人员众多,时间长,工作量大。逾期申请的,一是网络系统关闭无法受理,二是无法进行正常审核,影响正常工作进程,影响正常开学。因此,逾期无法受理补申请。请广大家长提前准备好各项证明材料,一次性提供所有证明,按照要求在规定时间内申请学位。
19、前期提供了失效、不符合条件或虚假的证件,后期还可以补申请吗?
答:不能。提供失效、不符合条件或虚假证明材料的,不予安排学位,不接纳其在光明新区所有公办学校申请学位或在民办学校享受学位补贴。伪造证件的,报公安部门追究责任。
20、年龄不够或分数不够的学生能够通过交择校费或找关系上公办学校吗?
答:不能。申请义务教育入学不收取任何费用,招生全程公开透明,就读资格由多个政府部门联合审核,积分、录取分数线和录取名单公开接受监督,网络系统具有很多自动排斥功能,比如不受理年龄不够的学生报名,不录取分数线以下的学生,严格按照类别和积分录取,没有任何弹性。所以,不要听信缴费或找关系就可以上学的传言,以免上当受骗。
21、可以放弃公办学校学位,直接申请民办学校学位吗?
答:可以。在申请学位时,可直接选择某所民办学校,也可先申请公办学校,审核合格后,如未被录取,可在规定的时间内改申请某所民办学校。民办学校优先录取审核合格的学生,享受政府发放的学位补贴。补贴标准为小学每年每生最高5000元,初中6000元。民办学校收费标准低于最高补贴额度的,按实际收费标准予以补贴,收费标准高于最高补贴额度的,差额部分由家长负责缴纳。
22、光明新区哪些公办学校学位比较紧张?
答:从往年情况看,我区绝大多数公办学校都需要分流符合就读条件的学生到民办学校就读。2016年预计学位比较紧张的学校:公明一小、公明二小、马田小学、田寮小学、实验学校、公明中学。
建议学位类型靠后和积分较低的儿童做好就读民办学校的准备,凡符合“1+5”文件规定条件的儿童入读民办学校享受政府学位补贴。
23、我的小孩属于外地户籍,现在老家读6年级,请问可以到光明新区申请初一学位吗?
答:不能。深圳市规定的初中一年级招生对象中不包含此类学生,对于深圳市学籍系统中无法查到六年级学籍信息的非深圳户籍学生,无法接受其申请学位。
八、各公办学校2016年招生计划
说明:此招生计划是在各学校采取拆除部分功能室、教师办公场所等措施的前提下才实现的。计划努力保证了比2015年不减少,班额也扩展到了所能容纳的最大限度。

九、学区划分及咨询电话
(一)光明新区公办中学招生范围及咨询电话

说明:
高级中学按片区招生不满计划时,由公共事业局根据家长第二次志愿征集调整。
(二)、光明新区公办小学招生范围及咨询电话
| 序号 | 公办小学 | 招 生 范 围 | 咨询电话 |
| 1 | 实验学校 | 塘尾社区、东坑社区、将石社区 | 3E+07 |
| 2 | 秋硕小学 | 将石社区 | 8.8E+07 |
| 3 | 公明一小 | 合水口社区、公明社区 | 27160235转3202 |
| 4 | 红花山小学 | 茨田埔社区、马山头社区、根竹园社区、合水口社区 | 8.8E+07 |
| 5 | 公明二小 | 上村社区、公明社区 | 2.7E+07 |
| 6 | 楼村小学 | 楼村社区 | 29858639转833 |
| 7 | 下村小学 | 下村社区、西田社区、公明社区 | 27123658转8012 |
| 8 | 马田小学 | 茨田埔社区、马山头社区、根竹园社区、合水口社区 | 3E+07 |
| 9 | 李松蓢小学 | 李松蓢社区、西田社区 | 27165566转8111 |
| 10 | 田寮小学 | 田寮社区 | 2.7E+07 |
| 2.7E+07 | |||
| 11 | 玉律小学 | 玉律社区、红星社区、石岩湖 | 27172044转8005 |
| 12 | 长圳学校 | 长圳社区、塘家社区、甲子塘社区 | 2.7E+07 |
| 13 | 光明小学 | 清怡花园、高正豪景、旧综合市场、碧眼新村、侨新花园、新围(碧园路以东)、迳口村、猪场、果林队、大宝鸽场、大捷达厂、生物制品厂、碧眼旧村 | 2.7E+07 |
| 14 | 东周小学 | 滨河苑、荔园住宅区、旧糖厂宿舍区、旧粮油厂宿舍区、科技楼、竹园区、旧砖厂宿舍区、晨光宿舍区、新围(碧园路以西)、鸳鸯房、富安花园、怡景花园、木墩、美景花园、西区、柑山工业区,新地中央花园。 | 2.7E+07 |
| 15 | 爱华小学 | 圳美社区、新羌社区 | 2.8E+07 |
| 16 | 凤凰小学 | 凤凰社区、白花社区 | 2.3E+07 |
| 传麒山、光明大第花园 |
(三)光明新区民办学校地址及咨询电话

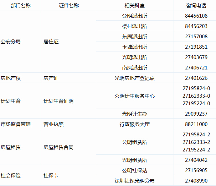
(四)有关证件办理单位咨询电话

(五)公共事业局联系方式
以上资料请务必仔细阅读,如有疑问或需进一步的资料,请登陆阳光招生服务平台(http://gmjjk.szgm.edu.cn/)查询。也可拨打公共事业局或各学校招生窗口电话咨询。新区中小学学生转学、学籍证明等,在学校盖章后,需要向新区教育主管部门盖章,地点统一在光明新区公共事业局招生窗口,地址:光明新区行政服务大厅23号窗口;电话:88211352,88211307;位置如图:

编辑推荐:
2016年广东奥校(华附初中)小升初报名指导
深圳三大机构第14届希望杯一试晋级分数线
深圳龙华新区2016年小升初招生政策汇总

