2017年青岛六十一中小升初特长生预录取名单公示
青岛家长帮
2017-05-08 15:16:10
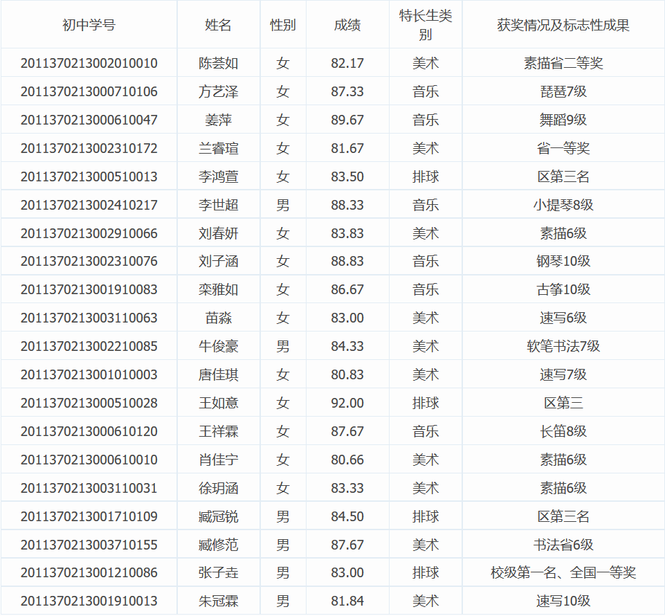
按照李沧区教体局《关于做好2017年全区体育艺术特长生、校园足球后备人才招生工作的通知》文件要求,经学校测评小组现场测评,学校特长生工作领导小组审议通过,现将学校2017年特长生预录取名单公示如下(按音序排列):

公示时间:5月8日——5月9日
监督电话:87696149
今年报考我校的特长生整体素质优秀,但因名额有限,只能录取20名同学,感谢大家报考六十一中。

